Technika, technologie, nowości
Pomiar wilgotności i temperatury drewna podczas obróbki termicznej PWT-8FIT
Nowość w ofercie TANEL
Najnowszy miernik z oferty TANEL – model PWT-8FIT – przeznaczony jest do stacjonarnego pomiaru wilgotności i temperatury zarówno drewna, jak i wewnątrz komory w trakcie jego suszenia. Doskonale sprawdza się m.in. podczas produkcji opakowań.
PWT-8FIT przeznaczony jest do stacjonarnego pomiaru wilgotności i temperatury zarówno drewna, jak i wewnątrz komory w trakcie jego suszenia. Urządzenie umożliwia drukowanie wyników. Zakres pomiarowy wynosi 8 – 60 proc. dla wilgotności drewna, 0 – 80° C dla jego temperatury oraz wewnątrz komory. Miernik współpracuje z 11 gatunkami drewna (jodła, sosna, świerk, brzoza, jawor, klon, jesion, orzech, dąb, buk, topola).
Szczególnie do palet typu EUR
Miernik znajduje zastosowanie przy produkcji opakowań drewnianych, a w szczególności palet typu EUR. Urządzenie pozwala spełnić wymagania fitosanitarne (ISPM 15, „Wytyczne dla unormowania drewnianych materiałów opakowaniowych w handlu międzynarodowym”) w zakresie dokumentowania obróbki cieplnej drewna (temperatura, czas) oraz jego wilgotności końcowej (palet). Jest zgodny z zaleceniami (wymaganiami) Instytutu Technologii Drewna w Poznaniu, który stanowi jednostkę prowadzącą rejestr producentów opakowań drewnianych w Polsce.
Przygotowanie miernika do pomiaru temperatury drewna
W celu poprawnego pomiaru temperatury drewna należy w najgrubszym elemencie wywiercić otwór o średnicy φ5,5/10,5 mm. W tak przygotowany otwór należy włożyć czujnik temperatury, a otwory wiercić na taką głębokość, by plastikowa osłona czujnika zanurzyła się w drewnie na głębokość około 10 mm (Rys. 1). Pomiar temperatury drewna musi być wykonany w miejscu możliwie najbardziej odległym od źródła ciepła i nie wyżej niż 1 m nad posadzką.
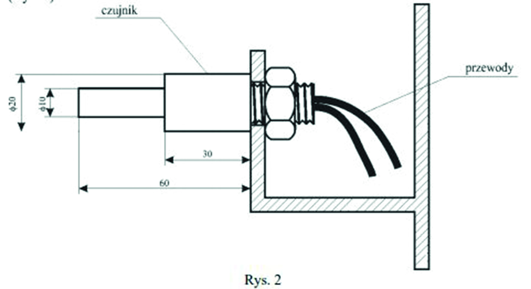
Przygotowanie miernika do pomiaru temperatury wewnątrz komory
Czujnik temperatury powietrza należy umieścić w połowie długości komory na wysokości ok. 150 cm – w miejscu, gdzie jest wyraźny (intensywny) przepływ powietrza (Rys. 2).
Przygotowanie miernika do pomiaru wilgotności drewna
Pomiar wilgotności drewna wymaga wcześniejszego zainstalowania elektrod pomiarowych. W tym celu należy:
– w drewnie przeznaczonym do suszenia wywiercić w odległości 25 mm dwa otwory φ 3,8 – 4 mm na głębokość ok. 25 mm lub do połowy grubości tarcicy (jeżeli grubość tarcicy jest mniejsza niż 50 mm); linia łącząca otwory powinna być prostopadła do włókien; zaleca się, by otwory znajdowały się w środku deski, co najmniej 50 cm od jej końca (Rys. 3);
– odłączyć igły od przewodów i wbić je w otwory, tak by końcówki igieł były na ich dnie;
– włożyć przewody do otworów w igłach.
Szybkie i proste przeprowadzanie pomiarów
W celu dokonania pomiarów należy załączyć zasilanie odbiornika i drukarki, a pokrętłem „GATUNEK DREWNA” wybrać odpowiedni rodzaj (temperatura drewna jest automatycznie uwzględniana przy obliczaniu ostatecznej wilgotności drewna). Na wyświetlaczu pojawią się wyniki pomiarów, na przemian (co 5 sekund):
▪ TD – temperatura drewna [°C],
▪ TP – temperatura powietrza w komorze [°C],
▪ WD – wilgotność drewna [%].
Za pomocą przycisku „START” należy wybrać żądaną częstotliwość wydruku: pierwsze naciśnięcie przycisku włącza wydruki co 60 minut oraz powoduje druk nazwy firmy i adres producenta opakowań. Drugie zmienia częstotliwość wydruku na 15 minut. Kolejne częstotliwość wydruku na 5 minut. Następne powodują zmianę częstotliwości wydruku na 15, 60 minut oraz wyłączenie wydruku (druk linii końcowej).
Urządzenie pozwala także na przeprowadzanie pomiarów bez wydruku, jak również wydruk w dowolnym momencie.

Rys 1 Pomiar temperatury drewna. Uwaga – przy wyjmowaniu czujnika nie wolno ciągnąć za przewody. Długość przewodów nie ma wpływu na wynik.

Rys 2 Pomiar temperatury wewnątrz komory.

Rys 3 Pomiar wilgotności drewna.
Technika, technologie, nowości
Wood-Mizer ExtraCUT – nowa generacja brzeszczotów dla profesjonalistów
Innowacje w technologii tartacznej
Do oferty światowego lidera rozwiązań tartacznych „dołącza” brzeszczot ExtraCUT, który dzięki unikalnej konfiguracji zębów zapewnia wyjątkową efektywność, wydłużoną żywotność oraz doskonałą jakość cięcia, odpowiadając na rosnące wymagania współczesnego przetwórstwa drewna.
Opr. W.M., źródło: Wood-Mizer
Innowacyjna geometria i technologia stellitowania
Brzeszczot ExtraCUT cechuje się typową konstrukcją zębów typu lewy-prawy-prosty, lecz w tej konfiguracji ząb prosty jest pokryty stellitem, natomiast zęby lewe i prawe są hartowane indukcyjnie, co gwarantuje wyjątkową trwałość w najbardziej wymagających warunkach pracy. Dzięki takiemu połączeniu brzeszczot zapewnia gładsze cięcie przy mniejszej ilości wytwarzanych trocin. Niedawne testy potwierdziły, że taka konstrukcja pozwala wydłużyć żywotność narzędzia o około 30% w porównaniu do standardowych brzeszczotów.
Jakość stali fundamentem precyzji
Brzeszczoty ExtraCUT wyróżniają się wysokiej jakości taśmą stalowąWood-Mizer, znaną ze swojej wytrzymałości i stabilności, co stanowi istotną przewagę nad produktami wykorzystującymi stal niższej jakości. Precyzję cięcia dodatkowo zwiększa fakt, że zęby są profesjonalnie szlifowane, a nie wybijane na prasie, co zapewnia im stabilną geometrię i większą dokładność. Dzięki temu brzeszczot gwarantuje niezawodną pracę nawet podczas intensywnej obróbki drewna twardego lub surowca z dużą ilością sęków. Firma Wood-Mizer, jako jeden z nielicznych producentów wytwarzających własne brzeszczoty, dba o rygorystyczną kontrolę jakości na każdym etapie – od surowej stali po gotowy produkt.
Większa produktywność i łatwa konserwacja
W codziennej pracy tartacznej ExtraCUT oferuje znaczną uniwersalność, pozwalając na przecieranie mieszanych kłód różnych gatunków bez konieczności wymiany brzeszczotu. Przekłada się to bezpośrednio na większą produktywność i ograniczenie przestojów. Nawet w trudnych materiałach, takich jak suche świerki, brzeszczot zapewnia wysoką precyzję wymiarową i powtarzalną grubość desek. Użytkownicy zwracają uwagę, że uzyskana powierzchnia jest na tyle czysta i gładka, że często nie wymaga dalszej obróbki. Co istotne dla właścicieli tartaków, ExtraCUT jest w pełni kompatybilny ze standardowymi urządzeniami Wood-Mizer do ostrzenia i rozwierania, co czyni jego wdrożenie wyjątkowo prostym.
5 zalet pił ExtraCut:
• Gładka powierzchnia cięcia często niewymagająca dalszej obróbki.
• Żywotność wydłużona o około 30% dzięki stellitowaniu i hartowaniu.
• Uniwersalność umożliwiająca cięcie różnych gatunków drewna bez wymiany brzeszczotu.
• Wysoka precyzja wymiarowa desek nawet w trudnym materiale.
• Łatwa regeneracja na istniejących maszynach do regeneracji Wood-Mizer.
Technika, technologie, nowości
100 lat doświadczenia i 200% polskich innowacji
Sklejka w budownictwie prefabrykowanym i nie tylko. Odpowiedź PAGED Plywood na zmieniające się potrzeby rynku
Ponad sto lat historii, pięć zakładów produkcyjnych w Polsce i Estonii, jedno z najnowocześniejszych laboratoriów badawczo-rozwojowych na świecie i najbardziej rozbudowana oferta sklejek specjalistycznych w Europie – PAGED Plywood to dziś synonim jakości, innowacji i odpowiedzialności. Firma jest polska, ale jej produkty trafiają na rynki ponad 40 krajów. Od dziesięcioleci jest zaufanym partnerem branży budowlanej – dostarczając rozwiązania, które odpowiadają na realne potrzeby wykonawców, architektów i inwestorów.
Nowe wymagania budownictwa – prefabrykacja, tempo, odporność
Szybkość realizacji inwestycji, oszczędność materiałowa, lepsza organizacja procesów i redukcja śladu węglowego to dziś priorytety dla sektora budowlanego. Odpowiedzią na te wyzwania jest dynamiczny rozwój prefabrykacji drewnianej i budownictwa modułowego.
W tych obszarach Paged oferuje dedykowaną linię sosnowych sklejek konstrukcyjnych: od ognioodpornej Paged ThickPly FR, przez wysoce odporną na wilgoć Paged DryGuard, ognioodporną i wodoodporną Paged DryGuard FR, aż po Paged MouldGuard — stworzoną z myślą o środowiskach o podwyższonej wilgotności i ryzyku rozwoju pleśni.
Cała rodzina sklejek konstrukcyjnych Paged została zaprojektowana tak, aby odpowiedzieć na różne potrzeby i sprostać wymaganiom charakterystycznym w różnych miejscach aplikacji. Wszystkie łączy wysoka wytrzymałość, sztywność, stabilność wymiarowa i odporność w długim okresie użytkowania, co jest gwarancją funkcjonalności i bezpieczeństwa konstrukcji.
Dodatkowym atutem oferty PAGED Plywood jest możliwość pełnej obróbki CNC – w tym cięcia na wymiar, wiercenia, frezowania i zabezpieczenia krawędzi. To rozwiązanie pozwala uzyskać gotowe elementy konstrukcyjne bez konieczności dalszego przetwarzania przez firmę prefabrykacyjną.
Prefabrykacja betonowa, szalunki i rusztowania – wytrzymałość, bezpieczeństwo, wydajność
Sklejki filmowane doskonale sprawdzą się w prefabrykacji betonowej i deskowaniu szalunków. W tych zastosowaniach kluczowe znaczenie ma jakość formowanej powierzchni, liczba cykli użycia, a także odporność mechaniczna i chemiczna. Paged oferuje zaawansowane produkty takie jak Paged Master Form – klasyczna sklejka pokryta filmem fenolowym o wysokiej odporności na ścieranie i odkształcanie, oraz innowacyjna Paged Ultra Form z warstwą polipropylenową, odporna na działanie środków chemicznych i zapewniająca do 70 cykli użycia.
Paged dostarcza również filmowane sklejki antypoślizgowe. Są to m.in. Paged Mesh i Paged Hexa – z tłoczeniami w kształcie siatki i heksagonu – które znajdują zastosowanie w platformach roboczych i pomostach rusztowaniowych, oferując bezpieczeństwo i trwałość w intensywnym użytkowaniu.
Zdrowe, estetyczne i ekologiczne wnętrza
Paged rozwija także ofertę dla segmentu wnętrz – zarówno publicznych, jak i komercyjnych. Linia Paged DesignPly to sklejki z wykończeniem HPL, odporne na zarysowania i łatwe w utrzymaniu, dostępne w kilku popularnych obecnie dekorach. Doskonale sprawdzają się w hotelach, biurach, szkołach i przestrzeniach komercyjnych.
Dla architektów i inwestorów szukających rozwiązań przyjaznych zdrowiu i środowisku, Paged przygotował takie unikalne produkty jak: Paged GreenPly, Paged FreePly i Paged FreePly Nature. Pierwszy to najbardziej ekologiczne rozwiązanie w całym portfolio. Sklejka ta wytwarzana jest na bazie biożywic, wyłącznie na bazie roślinnej, wolnej od formaldehydu. Produkt w całości biodegradowalny i rekomendowany wszędzie tam, gdzie najwyższym priorytetem jest zdrowie i środowisko, np. do wnętrz dla dzieci, gastronomii i obiektów wymagających certyfikacji zdrowotnej. Kolejne – Paged FreePly i FreePly Nature – to także wyroby ze spoiną całkowicie wolną od formaldehydu które spełniają najostrzejsze normy emisji, stworzone dla projektów realizowanych w duchu zrównoważonego rozwoju.
Wiedza, technologia i certyfikacja
Za innowacyjnością produktów Paged stoi Paged LabTech – centrum badawczo-rozwojowe powstałe w 2019 roku, uznawane za jedno z najnowocześniejszych laboratoriów dla materiałów drewnopochodnych w Europie. To tutaj testowane są nowe technologie, certyfikowane produkty i tworzone rozwiązania przyszłości.
Wszystkie kluczowe produkty Paged dostępne są z Deklaracją Środowiskową EPD (Environmental Product Declaration) typu III, co ułatwia ich wykorzystanie w projektach budownictwa zrównoważonego i inwestycjach ubiegających się o certyfikaty LEED, BREEAM czy WELL.
Partnerstwo z doświadczeniem
Paged nie dostarcza tylko materiałów – dostarcza sprawdzone, certyfikowane rozwiązania, poparte doradztwem technicznym i zrozumieniem potrzeb projektowych. Niezależnie od tego, czy tworzysz systemy prefabrykowane, projektujesz budynki publiczne, czy rozwijasz innowacyjne wnętrza – PAGED Plywood oferuje kompleksowe wsparcie na każdym etapie realizacji.
Zapraszamy na BUDMĘ!
Zapraszamy do odwiedzenia stoiska PAGED Plywood na Targach BUDMA, które znajduje się w Hali 3A – nr 41.
Jeśli będziecie chcieli dowiedzieć się więcej od naszych przedstawicieli dobrymi kontaktami są: Marcin Garliński, Business Development Manager odpowiedzialny za rozwój i partnerstwa w sektorze budownictwa; Marzena Tyc-Paulin, Dyrektorka Sprzedaży Krajowej, Grzegorz Suwała – Menedżer Sprzedaży B2B czy Grzegorz Lament, Dyrektor Sprzedaży Paged Trade, spółki dystrybucyjnej Paged Plywood.
Serdecznie zapraszamy do odwiedzenia stoiska Paged Plywood podczas Targów BUDMA.
Znajdziecie nas w hali 3A, stoisko nr 41.
Jeśli chcielibyście porozmawiać o szczegółach naszej oferty lub dowiedzieć się więcej o rozwiązaniach Paged dla branży budowlanej, na miejscu będą do Waszej dyspozycji między innymi:
• Marcin Garliński – Business Development Manager odpowiedzialny za rozwój i partnerstwa w sektorze budownictwa,
• Marzena Tyc-Paulin – Dyrektorka Sprzedaży Krajowej,
• Katarzyna Dzieweczyńska, Szefowa Dystrybucji Krajowej,
• Grzegorz Suwała – Szef Sprzedaży B2B,
• Grzegorz Lament – Dyrektor Sprzedaży w Paged Trade, spółce dystrybucyjnej Grupy Paged.
Zachęcamy do rozmowy – chętnie opowiemy, jak nasze rozwiązania mogą wesprzeć Wasze projekty.
Galeria
Tam, gdzie pasja spotyka inżynierię. Produkcja schodów w segmencie premium
Kurier Drzewny – w trasie!
Firma BIALIC POMAGALSKI, prowadzona przez Marcina Pomagalskiego, to przedsiębiorstwo, które udowadnia, że tradycyjne stolarstwo można z powodzeniem łączyć z najnowocześniejszymi technologiami, osiągając przy tym mistrzowski poziom jakości. Jak się przekonałem – spoiwem jest tutaj pasja, szeroka wiedza, kreatywność oraz pozytywne nastawienie Marcina.
Od wielu lat jestem fanem gitar i podziwiam ich brzmienie, ale także lutniczy kunszt z jakim zostały wykonane. Po prostu nie mogę przejść obojętnie obok pięknego instrumentu. Tak właśnie poznałem Marcina Pomagalskiego, który podczas targów branżowych na swoim stoisku zorganizował konkurs na najlepszą solówkę gitarową.
Choć od wielu lat produkuje wysokiej jakości schody, to jego pasją są też gitary. Jego osobista pasja do perfekcji wykracza poza branżę: konstruuje on instrumenty muzyczne, w tym gitary testowane przez Jurka Styczyńskiego z zespołu Dżem, a także ręcznie wykonane i indywidualnie strojone kolumny głośnikowe dla audio maniaków.
Przemyślana strategia nie boli
Minął jakiś czas i odwiedziliśmy firmę Marcina, która mieści się w Brzezińce Średzkiej k. Wrocławia. BIALIC POMAGALSKI obsługuje klientów indywidualnych z segmentu klasy premium (głównie z polecenia) oraz klientów strategicznych. Firma realizowała duże inwestycje w Polsce (Wroclavia, PKP, Renoma we Wrocławiu) oraz strategiczne projekty w Europie, takie jak HafenCity w Hamburgu. Właściciel podkreśla, że dzięki widocznej dbałości o jakość na każdym etapie – od selekcji surowca, poprzez klejenie klejem na bazie żywic palifatycznych, który zapobiega schodkowaniu, po końcowe lakierowanie – klienci są w stanie zapłacić więcej za produkt.
Podstawą produkcji w BIALIC POMAGALSKI są wyroby z drewna dębowego, które stanowią 90% ogółu produkcji. Marcin przykłada ogromną wagę do selekcji surowca, co świadczy o jego dogłębnej znajomości materiałoznawstwa. Firma kupuje mokre drewno dębowe, przetarte w tartaku, wyłącznie cięte zimą. Ten strategiczny wybór wynika z faktu, że w okresie zimowym mikropory w drewnie kurczą się, co sprawia, że pozyskane drewno jako materiał inżynierski jest dużo lepszy jakościowo.
Dzięki ścisłej współpracy ze sprawdzonym dostawcą, BIALIC POMAGALSKI otrzymuje materiał wstępnie wyselekcjonowany, gdzie w 80% jest to „jedynka”. Choć firma płaci za to nieco więcej, 80% kupionego materiału jest gotowe do użycia, co minimalizuje ilość odpadów. W pozostałych 10% produkcji dominuje jesion, wykorzystywany do elementów malowanych kryjąco, ponieważ jest tańszy i ma bardzo zbliżony moduł Younga do dębiny.
Jakość zaczyna się od suszenia
Kluczowym elementem w strategii jakościowej firmy BIALIC POMAGALSKI jest posiadanie własnej suszarni, w tym urządzenia marki Eberl. Proces suszenia drewna dębowego o grubości 50 mm w suszarni trwa od dwóch do trzech tygodni, czyli znacznie krócej niż w standardowych komorach.
Najważniejszą zaletą jest to, że dzięki technologii Eberl wilgotność jest dokładnie taka sama w całym przekroju materiału, co polepsza jego jakość i zapobiega stratom w barwie. Posiadanie własnej suszarni pozwala firmie na radzenie sobie z wyzwaniami rynkowymi, takimi jak brak materiału, ponieważ suszy we własnym zakresie. Firma stosuje również ryflowane podkładki między warstwami dębu, aby zapewnić przewiew wszędzie w paczce, minimalizując ryzyko odparzeń i śladów po podkładkach.
Inżynieria schodów dywanowych
Głównym produktem firmy są schody klasy premium, a zwłaszcza schody dywanowe samonośne, które, jak twierdzi Marcin, „przeczą wszelkim zasadom wytrzymałości”. Aby zapewnić bezpieczeństwo konstrukcji, w której brakuje wsparcia (np. ściany lub szkła), firma stosuje zaawansowaną klejonkę, klejąc elementy na przemian skośnie (przynajmniej pięć warstw), aby materiał miał taką samą wytrzymałość na ściskanie i rozciąganie w każdym kierunku.
W przypadkach, gdy konstrukcja jest pozbawiona podparcia bocznego, klejonkę dębową wzmacnia się w środku stalowym policzkiem zębatym. Marcin podchodzi do zagadnień konstrukcyjnych z inżynierską precyzją: wylicza strzałkę ugięcia (która może wynosić kilka lub kilkanaście milimetrów) i zleca cięcie policzka zębatego ze stali w formie wstępnie wygiętej, aby podczas montażu schody się wyprostowały. Takie podejście, wymagające szczegółowej wiedzy, sprawia, że konstrukcje są bezpieczne i stylistycznie wyjątkowe.
Park maszynowy na „piątkę”
Centra obróbcze umożliwiają w firmie osiąganie wysokiej precyzji oraz dużej szybkości realizacji. Podstawą parku maszynowego są tam maszyny firmy Felder, których wybór był wynikiem świadomej i przemyślanej decyzji. Jak podkreśla Marcin, urządzenia Feldera, a w szczególności duże centra CNC, takie jak modele profit H500 i H50 marki Format4, wyróżniają się masywnością konstrukcji oraz oszczędnością materiałową, co bezpośrednio przekłada się na efektywność pracy.
Zastosowanie maszyn Felder w firmie BIALIC POMAGALSKI przynosi szereg wymiernych korzyści. Dzięki lekkiej, a jednocześnie solidnej konstrukcji centrów CNC H500 i H50 możliwe jest znaczące ograniczenie czasów jałowych, co w praktyce skutkuje zwiększeniem ogólnej wydajności.
W porównaniu z rozwiązaniami innych producentów, prędkość pracy może być nawet o około 30 procent wyższa, co ma ogromne znaczenie przy realizacji większych i bardziej wymagających projektów.
Istotnym atutem parku maszynowego w firmie Marcina jest również posiadanie rzadko spotykanej szlifierki szerokotaśmowej marki Format4 pełniącej funkcję grubościówki o szerokości strugania wynoszącej 135 centymetrów. Tak duży zakres roboczy umożliwia obróbkę bardzo szerokich elementów, w tym między innymi blatów czy stołów o średnicy sięgającej 260 centymetrów, co znacząco poszerza możliwości produkcyjne zakładu.
Centra CNC wykorzystywane w BIALIC POMAGALSKI pracują w oparciu o starsze, lecz sprawdzone i niezawodne systemy sterowania. Interfejs WoodFlash oraz oprogramowanie obsługujące TPA CAD są rozwiązaniami doskonale znanymi Marcinowi już od początków wdrażania technologii CNC w Polsce. Ta ciągłość i znajomość systemu przekładają się na stabilność pracy, mniejszą podatność na błędy oraz większy komfort obsługi maszyn.
Dokładność oferowana przez maszyny Felder w pełni odpowiada wymaganiom produkcji schodów, gdzie kluczowe znaczenie ma nie tylko precyzja, ale przede wszystkim szybkość obróbki oraz wysoka prędkość przejazdów na biegach jałowych. W tym obszarze zastosowane rozwiązania zapewniają optymalny balans pomiędzy jakością wykonania a efektywnością czasową.
Nie bez znaczenia pozostaje również łatwość serwisowania urządzeń. Konstrukcja maszyn Felder jest prosta i przemyślana, co ułatwia ich eksploatację oraz ewentualne naprawy. Dodatkowym atutem jest bardzo sprawna reakcja serwisu producenta, który oferuje szybki dostęp do części zamiennych w cenach uznawanych za znośne i akceptowalne.
„Firma BIALIC POMAGALSKI udowadnia, że tradycyjne stolarstwo można z powodzeniem łączyć z najnowocześniejszymi technologiami, osiągając przy tym mistrzowski poziom jakości. Spoiwem tego podejścia są pasja, szeroka wiedza, kreatywność oraz konsekwentna dbałość o każdy detal – od selekcji surowca po gotowy produkt.”
Uzupełnieniem parku maszyn w przedsiębiorstwie są inne specjalistyczne urządzenia, w tym wielopółkowe prasy do klejenia w wersjach dwu- i trzypółkowych.
Istotną rolę odgrywa także niewielki trak służący do cięcia cienkich warstw drewna, czyli obłogów, które są niezbędne w procesie produkcji podłóg warstwowych wykonywanych na bazie wodoodpornej sklejki.
Oprogramowanie i precyzyjny pomiar
Oprócz WoodFlash’a i TPA CAD, firma używała także systemu Compass (Kompas), ale zrezygnowała z jego serwisowania i aktualizacji w latach 2019-2022 z powodu problemów technicznych, które przynosiły więcej kłopotów niż pomocy.
Do dokładnego pomiaru klatek schodowych u inwestorów używane są dalmierze laserowe z enkoderami. Urządzenia te mierzą punkty w przestrzeni 3D, co pozwala na bardzo dokładne zaprojektowanie schodów i minimalizowanie poprawek na budowie. W zakładzie stosowane są także lasery projekcyjne Laplaser, które służą do szybkiego pozycjonowania i mocowania przygotówki oraz przyssawek na maszynach CNC, co znacznie oszczędza czas.
Technologia i narzędzia dla precyzji
W dążeniu do skracania czasu produkcji i zapewnienia maksymalnej precyzji, firma w 90% wykorzystuje narzędzia marki Leitz (piły, frezy). Choć narzędzia te są droższe, w perspektywie czasu wychodzi to taniej, gdyż są bardziej trwałe, cichsze i lepiej odprowadzają wiór. Frezy i piły są ostrzone i serwisowane w oddziale Leitza w Opolu.
Ponadto, w lakierni, zapewniającej wykończenie premium, wykorzystywane są pompy Wagner. Pompy te multiplikują ciśnienie (nawet 40-krotnie), co powoduje, że rozpylana frakcja tworzy mgiełkę, a jakość naniesienia lakieru jest dużo lepsza od tradycyjnych pistoletów na sprężone powietrze.
Z mojej perspektywy wizyta w zakładzie BIALIC POMAGALSKI była niezwykle wartościowym i inspirującym doświadczeniem, pozwalającym z bliska zobaczyć, jak przemyślane decyzje technologiczne, konsekwencja w doborze parku maszynowego oraz wieloletnie doświadczenie przekładają się na realną jakość i efektywność produkcji. Otwartość Marcina Pomagalskiego na rozmowę, gotowość do dzielenia się wiedzą oraz praktyczne spojrzenie na wykorzystanie nowoczesnych, a jednocześnie sprawdzonych rozwiązań stanowią cenne źródło wiedzy dla całej branży. Serdecznie dziękujemy za możliwość odwiedzenia zakładu, poświęcony czas oraz podzielenie się doświadczeniem, które z pewnością będzie inspiracją i punktem odniesienia dla wielu czytelników.
Technika, technologie, nowości
Tydzień intensywnych obserwacji technologicznych EWD i kierunków rozwoju europejskiego przemysłu drzewnego
Branżowy wyjazd studyjny PIGPD
Polska Izba Gospodarcza Przemysłu Drzewnego zorganizowała kolejny wyjazd studyjny poświęcony praktycznemu poznaniu technologii, które obecnie wyznaczają standardy w europejskim tartacznictwie. Szczególne miejsce w programie zajęła niemiecka firma EWD, będąca jednym z najważniejszych producentów systemów trakowych i optymalizacyjnych. Cały tygodniowy program pozwolił uczestnikom obserwować rozwiązania technologiczne zarówno na etapie projektowania maszyn, jak i ich pracy w tartakach różnej wielkości oraz w zakładach produkujących elementy konstrukcyjne i panele CLT.
EWD jako punkt odniesienia
Pierwszy dzień rozpoczął się od wizyty w siedzibie EWD w Altötting. Uczestnicy mogli prześledzić proces tworzenia maszyn tartacznych w pełnym cyklu – od koncepcji projektowej, poprzez budowę komponentów, aż po testy technologiczne wykonywane przed finalnym montażem u klienta. Szczególnie widoczna była rola cyfryzacji, która uzupełnia dziś klasyczne podejście do obróbki drewna.
W rozmowach z technologami podkreślano rozwój systemów optymalizacji cięcia oraz funkcje predykcji serwisowej, które pozwalają na bieżące monitorowanie obciążeń i planowanie działań utrzymaniowych. Po części technicznej zaplanowano zwiedzanie Altötting, a wieczór zakończyła wspólna kolacja integracyjna.
Analiza organizacji pracy
Drugiego dnia uczestnicy odwiedzili tartaki Prehofer Holz i Holz Hahn, które od ponad wieku prowadzą działalność w oparciu o tradycję połączoną z nowoczesnymi inwestycjami. Oba zakłady, o stabilnym przerobie około 100 tysięcy metrów sześciennych rocznie, stanowiły doskonałą okazję do porównania teoretycznych założeń technologii EWD z ich rzeczywistym funkcjonowaniem.
Wizyty pozwoliły zobaczyć współpracę systemów skanujących z liniami sortującymi, sposób organizowania przepływu materiału oraz standardy bezpieczeństwa pracy, które stają się jednym z głównych kryteriów przy wyborze nowych maszyn. Przedsiębiorcy mogli obserwować, jak zaawansowana automatyka wpływa na ograniczenie przestojów, poprawę powtarzalności oraz minimalizację ryzyka dla operatorów.
Zakłady wyznaczające przyszłość
Trzeciego dnia wyjazdu program koncentrował się na miejscach, które w Europie uchodzą za wzorcowe pod względem innowacyjności i organizacji pracy. W Theurl Assling uczestnicy zobaczyli zakład o przerobie rzędu 550 tysięcy metrów sześciennych rocznie, w którym automatyzacja procesów i integracja danych produkcyjnych z logistyką są podstawą funkcjonowania. Skanery jakości pracujące w czasie rzeczywistym oraz systemy zarządzające przepływem surowca pokazywały, jak nowoczesne tartacznictwo radzi sobie z dużą zmiennością materiału.
Następnie grupa odwiedziła zakład Noritec Stall „CLT”, gdzie produkcja paneli cross laminated timber prezentowała pełny obraz technologii stosowanych w nowoczesnym budownictwie drewnianym. Uczestnicy mogli prześledzić cały proces – od przygotowania lameli po finalne formatowanie elementów. W rozmowach zwracano uwagę na znaczenie precyzyjnej tarcicy konstrukcyjnej dla jakości paneli CLT oraz na rosnący globalny popyt na tego typu rozwiązania.
„Wszyscy uczestnicy wyjazdu byli bardzo zadowoleni z udziału wyjeździe studyjnym, który okazał się nie tylko inspirujący, ale także doskonały pod względem integracyjnym.”
Automatyzacja i nowa koncepcja produkcji
Czwarty dzień poświęcono firmie Springer, która od lat specjalizuje się w złożonych systemach automatyzacji linii tartacznych. Największe zainteresowanie wzbudziła prezentacja koncepcji Sawbox – kompaktowego modułu tnącego dedykowanego zakładom o średniej wydajności, które chcą modernizować produkcję bez konieczności rozbudowy całych hal.
Przedsiębiorcy mieli okazję porównać tę koncepcję z klasycznymi rozwiązaniami trakowymi stosowanymi przez EWD i ocenić różnice w podejściu technologicznym. Po części merytorycznej uczestnicy przenieśli się do Wiednia, gdzie wieczór spędzono w otoczeniu świątecznej atmosfery miasta, a nocleg zaplanowano w drewnianym hotelu HoHo, będącym przykładem możliwości współczesnego budownictwa drewnianego.
Rozmowy z Austriacką Izbą Drzewną
Ostatni dzień wyjazdu rozpoczął się wizytą w Kirnbauer Holz – zakładzie, który łączy wielopokoleniowe doświadczenie z konsekwentną modernizacją parku maszynowego. Uczestnicy mogli zapoznać się z organizacją produkcji tarcicy i drewna konstrukcyjnego, a także z podejściem zakładu do wykorzystania zróżnicowanego jakościowo surowca.
Najważniejszym elementem tego dnia okazało się spotkanie z Dieterem Lechnerem z Austriackiej Izby Drzewnej. Rozmowy dotyczyły bieżącej sytuacji branży w Polsce i Austrii, europejskich regulacji dotyczących sektora leśno-drzewnego – w tym EUDR – oraz współpracy instytucjonalnej w ramach Deklaracji Praskiej. Wymiana doświadczeń pokazała, że kluczowe wyzwania dotyczą dziś nie tylko technologii, lecz również ram prawnych i strategicznego podejścia do surowca.
Europejskie inspiracje i wnioski
Całość wyjazdu studyjnego potwierdziła, jak ważną rolę pełni regularne konfrontowanie wiedzy z praktyką europejskich liderów. Uczestnicy otrzymali możliwość obserwacji pełnego spektrum technologii – od projektowania maszyn EWD, przez pracę tartaków średniej i dużej skali, aż po zaawansowaną produkcję CLT.
Wyjazd przyniósł liczne obserwacje dotyczące organizacji zakładów, planowania inwestycji, automatyzacji procesów i możliwości zwiększania efektywności. Utwierdził także przedsiębiorców w przekonaniu, że działania PIGPD to nie tylko reprezentowanie branży, lecz także aktywne tworzenie przestrzeni dla jej rozwoju poprzez dostęp do wiedzy, wymianę doświadczeń oraz kontakt z najlepszymi praktykami europejskimi.





